PPSLT晶体相关专利——钽酸锂单晶及光功能器件
近几年,周期极化铌酸锂晶体PPLN非常流行。除了铌酸锂外,周期极化钽酸锂晶体也是众所周知的压电、线性电光和非线性光学器件应用中最优良和最有用的铁电材料之一,在许多方面钽酸锂还具有与铌酸锂相似的特性。日本OXIDE提出了一种在厚度仅为几毫米左右的LT单晶厚基板中产生完整的极化和反转的方法。日本OXIDE PPSLT专利英文名称为“Lithium tantalate single-crystal and photo-functional device”,PPSLT中文名称为钽酸锂单晶及光功能器件,PPMgSLT专利号是US6211999。欢迎找我们索要日本OXIDE PPSLT专利原理,如发现有翻译错误或不准确的地方,欢迎指正。

摘要
PPMgSLT专利发明提供一种周期极化钽酸锂晶体,其铁电极化反转所需的电压不大于10kV/mm。即使在如此低的电压下,其极化也可以精确地周期性反转,钽酸锂晶体光功能器件同样如此。周期极化钽酸锂晶体的Li2O/(Ta2O5 +Li2O)摩尔分数在0.492和0.50之间,周期极化钽酸锂晶体光功能器件可以转换入射到其上的激光射线或可以用作物理存储器。
发明领域
PPMgSLT发明不仅涉及钽酸锂(LiTaO3)单晶在光学信息处理、光学加工、光化学反应、光学仪器控制等各种技术领域中应用激光的众多应用,还涉及一种包含钽酸锂晶体光功能器件,其中晶体的偏振周期性地反转来缩短或延长入射到该器件上的激光的基本波长。
发明背景
除了铌酸锂外,钽酸锂也是众所周知的压电、线性电光和非线性光学器件应用中最优良和最有用的铁电材料之一。在许多方面钽酸锂还具有与铌酸锂相似的特性,比如具有相同的晶体结构和相似的非化学计量性质。虽然通常被称为“LiTaO3”,但该相存在于广泛的固溶体范围内,从接近化学计量值的成分到贫锂成分。因此,在传统的直拉法中用于商业晶体生长的同成分熔融成分也从化学计量成分转向Ta过量成分侧。与铌酸锂的非化学计量缺陷模型类比,几乎所有商业生产的钽酸锂都应包含大量的Ta抗位缺陷和阳离子空位。
钽酸锂单晶的相图早已为人所知。Miyazawa等人在《晶体生长杂志》10(1971) 276-278中报道了LiTaO3附近的Li2O-Ta2O5相图。其同成分组成与化学计量组成不一致,相位关系与Li2O-Nb2O5系统非常相似。为了生产具有高成分均匀性的钽酸锂单晶,本领域已知的一种常规方法包括从熔剂中旋转拉晶并同时生长所拉晶,其中熔剂具有同成分熔体组成,使得所生长的晶粒与熔剂平衡以具有相同的成分,并且Li2O/(Ta2O5+Li2O)的摩尔分数为0.4875。由于该方法中生成的钽酸锂单晶为多畴状态,因此,在加热至居里温度以上,约600℃的温度下,沿晶体Z轴方向施加电压,进行极化处理,使晶体单极化,然后冷却,再将得到的单畴晶体加工成预定尺寸,用于各种领域。
由于具有良好的电光常数和良好的非线性光学常数,钽酸锂单晶作为光调制器、光开关、Q开关、频率转换器件等的基板材料而受到广泛关注。最近,人们特别期待开发能够通过非线性光学效应将具有近红外波长的半导体和固态激光器转换为具有半波长的紫外光或可见光的波导型光学二次谐波产生 (SHG) 器件。其中,研究最多的是包含具有周期性反转极化结构的钽酸锂单晶元件的 SHG 器件,作为光盘的高密度记录和再现光源。这种类型的 SHG 器件在准相位匹配 (QPM) 系统中驱动,其中基波的传播常数与高次谐波的传播常数之间的差异由周期性结构补偿以获得相位匹配。此系统具有转换效率高、输出光易平行成束及衍射极限收集、适用材料及波长不受限制等诸多优良特性。为了获得高效率,QPM的周期结构最好是选SHG系数(d系数)属性周期性反转的结构,而铁电晶体d系数的正负属性与晶体铁电极化的极性相对应,因此QPM系统采用极化铁电畴周期性反转结构。QPM-SHG系统中可使用非线性光学常数d22及d33,而基于双折射的相位匹配系统则不能使用非线性光学常数d22及d33,该类QPM-SHG系统具有波长转换效率高的极大优势。
与其他非线性光学单晶相比,钽酸锂单晶具有较大的非线性光学常数(d33为-26.0pm/V),是目前研究最多的光学器件材料之一。实现由铁电晶体构成的QPM-SHG器件的最重要的技术是精确地产生周期性的极化反转畴。钽酸锂单晶在基波波长0.8μm附近的相位匹配周期约为4μm左右。然而,通过极化制备的单畴LT(钽酸锂)单晶在室温附近非常稳定,在普通电场中不容易使晶体极性反转。为此,已报道了一些在不高于晶体居里点的温度下用各种方法使LT单晶极化反转的技术。已报道的方法包括:1)SiO2带电热处理、2)质子交换热处理、3)电子束扫描照射、4)施加电压。已知有许多关于施加电压方法的报道。其中一篇报道是在Z-cut LT单晶基板的一个表面上设置周期电极,而在其另一表面上设置均匀电极,通过这些电极向晶体基板施加脉冲电压,从而获得与周期电极几乎相同图案的周期极化反转。通过将近红外激光施加到这样制成的QPM-SHG器件上,可获得几mW左右的蓝色SHG激光射线。除了SHG之外,由LT单晶组成的QPM器件还被进一步研究应用于近红外OPO等波长转换系统。
如上所述,实现由铁电单晶构成的QPM-SHG器件最重要的技术是精确地产生周期性的极化反转畴。理想情况下,重要的是增大反转结构与导波模式的重叠,并降低归一化匹配误差,即获得1/1的极化反转宽度比。但事实上,由于QPM条件的容差非常窄,如果产生的器件中存在反转周期不足,则无法实现小型、高效的器件。通过电子束扫描辐照或对钽酸锂晶体施加电压进行晶体的偏振反转的方法,其优点在于可以形成在晶体厚度方向上几乎均匀的倒晶格。但即使这样,获得完全为1/1的极化反转宽度比仍然极其困难。此外,该工艺本身的再现性也存在问题。例如,在施加电压方法中,在Z-cut的钽酸锂单晶基板的一个表面上设置周期电极,而在其另一表面上设置均匀电极,并通过这些电极向晶体基板施加脉冲电压,从而使周期电极正下方的晶体基板区域沿晶体的Z轴方向极化和反转。然而,在这种情况下,晶体的反转和极化宽度并不总是与电极宽度相对应,并且生产误差很大。此外,该方法的另一个问题是,反转通常会在晶体基板的另一表面上沿Z轴方向形成极化和反转的中间停止,并且Z切割晶体基板的两个表面之间的极化和反转宽度会有所不同。因此,由于这些原因,根据该方法很难生产理想的QPM-SHG器件。
极化和反转的周期宽度随目标SHG器件的相位匹配波长而变化。例如,对于长波相位匹配在OPO器件中,要控制的反转宽度很大,超过10μm左右。因此,与要控制的反转宽度约为4微米左右的短波器件相比,长波器件的形成相对容易。然而,传统方法仍然无法实现理想的SHG器件的生产。另一方面,LT单晶需要不低于20kV/mm的高电压才能实现其极化反转。对于厚度为0.5mm左右的LT单晶薄基板,可能在整个基板上产生极化和反转晶格。然而,厚度为几毫米左右的LT单晶厚基板存在难以在其中产生完整的极化和反转问题。
发明内容
本发明是为了解决现有技术中存在的上述问题而提出的,其目的在于提供一种钽酸锂单晶,其特征在于:其Li2O/(Ta2O5+Li2O)摩尔分数为0.492~0.50之间,且其铁电极化反转所需电压不大于10kV/mm。
本发明还提供了一种包含钽酸锂单晶的光功能器件,其中晶体的极化结构周期性地反转,从而缩短或延长入射到该装置上的、落在可见光至近红外范围内的激光光线的波长,其特征在于,所述钽酸锂单晶中Li2O/(Ta2O5+Li2O)的摩尔分数为0.492至0.50之间。
发明人经过刻苦研究,发现控制钽酸锂单晶的极化和反转的问题在于单晶材料本身。基于这一发现,我们完成了上述本发明。确切地说,迄今为止用于极化和反转的常规LT(钽酸锂)单晶基板是钽过量的钽酸锂单晶,其Li2O/(Ta2O5+Li2O)摩尔分数为0.4875。这是因为由于本领域的单晶生长技术的限制,只有这种钽过量的单晶才可供商业使用。当然,钽酸锂单晶的理想组成是Li/Ta比为1/1。现有的LT单晶中,由于钽成分过多,导致内部存在许多缺陷。发明人已明确,由于LT单晶中存在缺陷,导致表示晶体极化反转所需电压与自发极化之间的关系的磁滞不对称,晶体的极化反转需要20kV/mm以上的高电压,缺陷在晶体内部分布不均匀,在缺陷较多的部位极化反转容易被钉扎,因此,通过施加电压使现有的LT单晶精确地极化反转的技术受到限制。
参见图1,其展示出了钽酸锂单晶的非化学计量缺陷模型。其中,Li和Ta阳离子位于氧配位八面体的配体上,氧原子存在于这些八面体的顶点。具有一致熔体组成的LT单晶中含有过量的Ta成分。因此,在该类型的LT单晶中,1%的过量Ta离子占据Li离子位点,在Li位点产生4%的空位,以保持晶体中的电中和。发明人注意到钽酸锂单晶中存在大量达到百分之几的缺陷,并努力研究这些缺陷对晶体特性的重大影响。在高于晶体居里点的高温下处于顺电相的钽酸锂单晶中,Li和Ta离子处于中心对称状态;而在不高于晶体居里点的温度下处于铁电相时,Li和Ta离子在z方向上有一定程度的偏移。根据这些离子的偏移方向,决定了构成晶体的畴的极化方向为正或负。周期性地反转晶体极化结构的技术是在低温下对晶体施加电场,强制移动构成晶体的离子。当用该技术处理的晶体具有一致的熔体成分且具有许多非化学计量缺陷时,Li离子很容易扩散并通过晶体中的空位移动,但进入Li位的过量的Ta离子不易移动。因此,出于这些原因,具有这种一致的熔体组成的晶体需要较大的电压才能使其极化反转。与此相反,人们认为,具有接近化学计量组成且非化学计量缺陷较少的晶体很容易发生极化反转。
基于上述情况,本发明第一方面的钽酸锂单晶的特征在于:该晶体具有近化学计量组成,其摩尔分数Li2O/(Ta2O5+Li2O)为0.492至0.50之间,晶体中的非化学计量缺陷密度降低,晶体极化反转所需的电压不大于10kV/mm,即小于具有同成分熔体组成且缺陷较多的市售钽酸锂单晶的极化反转所需的电压,并且由于晶体中的缺陷密度很低,因此晶体的极化反转不会造成钉扎。
本发明的第二方面在于提供一种包含钽酸锂单晶的光功能器件,其中晶体的极化结构周期性地反转,从而缩短或延长入射到该装置上的激光射线的波长,该波长范围从近紫外到近红外,其特征在于,所述钽酸锂单晶具有接近化学计量的组成。
附图的简要说明

图1是显示钽酸锂(LT)单晶的非化学计量缺陷模型的图形视图。

图2是比较显示了具有全等熔融成分的钽酸锂(LT)单晶与具有化学计量成分的LT单晶的居里点与铁电特性之间的关系。

图3是一张图,显示了具有全等熔融成分的钽酸锂(LT)单晶的自发极化特性(相对于施加的电压)和具有化学计量成分的LT单晶的滞后特性。

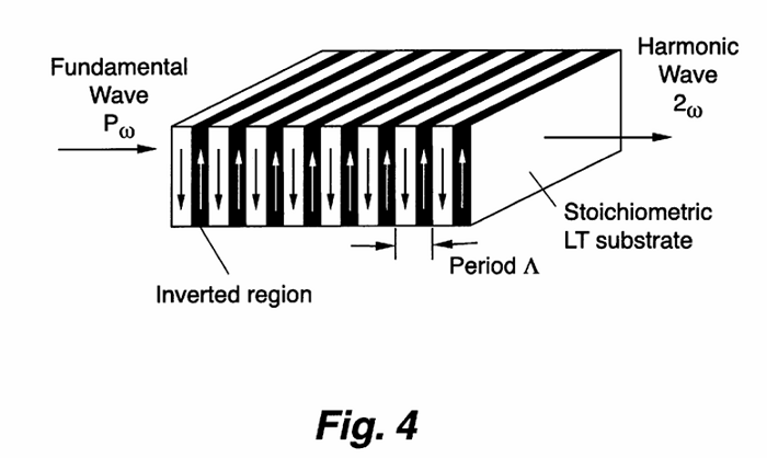
图4是示出具有钽酸锂(LT)单晶衬底的周期性偏振反转SHG光功能器件的图形视图。

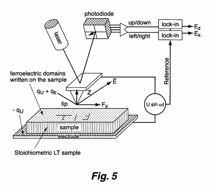
图5是示出具有钽酸锂(LT)单晶衬底的畴反转铁电存储器件的图形视图。
具体实施方式
现在,结合其较佳实施例对本发明进行了更详细的描述。
本发明的钽酸锂单晶的摩尔分数为Li2O/(Ta2O5+Li2O),其摩尔分数在0.492至0.52之间,其化学成分比普通钽酸锂单晶更接近其化学计量组成,其组成与Li2O/(Ta2O5+Li2O)为0.4875。因此,本发明的晶体具有高度的晶体完美度,同时具有较低的缺陷密度。此外,它具有良好的透光特性,其上的光散射很小,其偏振反转所需的电压可能很小或可能为 10 kV/mm 或更低。因此,晶体在较小的范围内进行精确的偏振反转是可能的。因此,使用化学计量成分的本发明的钽酸锂单晶,可以提供一种波长转换装置,该装置能够有效地将落在从近紫外射线到长波、近红外线的宽范围内的光线的波长转换。
例如,为了生产本发明的钽酸锂单晶,可采用的是一种普通的拉取方法,其中晶体从具有大大Li-过量成分的通量中拉出(例如,具有Li2O/(Ta2O5+Li2O)的摩尔分数为0.56至0.60,优选0.58)。然而,为了更准确地控制生长晶体中的非化学计量缺陷密度以及生长晶体的结构,生长大的钽酸锂单晶,需要一种双坩埚单晶生长方法,其中原料连续地被送入坩埚。
除了上述方法外,本文还采用了一种拉取方法,其中从具有化学计量成分或相等熔融成分的通量中拉出晶体,向其中加入不小于5 wt %的K2O的添加剂通量,甚至一种顶部种子溶液生长(TSSG)方法。
本文下结合以下实施例对本发明作进一步描述,然而,这些实施例并不用于限制本发明的范围。
示例1
从Li2O-Ta2O5相图与Li2O-Nb2O5体系的类比可以看出,化学计量的LiTaO3晶体与富Li熔体Li2O/(Ta2O5+Li2O)在0.56至0.60之间平衡共存,优选0.58)。因此,化学计量的钽酸锂晶体必须从适当成分的富锂熔体中生长出来。发明者设计了一种生长系统,称为双坩埚直拉法(DCCZ),配备了自动供粉系统,以保持富锂熔体,化学计量的钽酸锂晶体从中结晶。化学计量的钽酸锂晶体是通过直拉技术从内坩埚中的富锂熔体中生长出来的。化学计量的钽酸锂粉末通过自动粉末供应系统以与生长晶体重量增加相同的速率连续供应到外部坩埚。
制备了市售的粉状原料,纯度为Li2CO3和Ta2O5。它们以 Li2CO3/Ta2O5 的比例混合,介于 0.56/0.44 和 0.60/0.40 之间,得到 Li-过量的混合物,或以 Li2CO3/Ta2O5=0.50/0.50 的比例混合,得到化学计量混合物。这些混合物在1 ton/cm2的静水压力下通过等静压橡胶压成型单独成型,并将所得成型品在约1050°C和1250°C的氧气中烧结,分别得到用于拉晶和喂料粉末的烧结棒。接下来,根据双坩埚方法生长具有近化学计量成分的钽酸锂单晶,其中原料连续地被送入坩埚中。准确地说,将晶种放入具有Li-过量组成的通量中(例如,在双坩埚中具有0.56至0.60的Li2O/(Ta2O5+Li2O)的摩尔分数,并以0.5 mm / hr的拉动速率和4 rpm的晶体公转向上拉,以获得具有近化学计量成分的钽酸锂单晶,其非化学计量缺陷密度最小化。
为了更准确地控制生长晶体中的非化学计量缺陷密度以及生长晶体的结构,将摩尔分数为Li2O/(Ta2O5+Li2O)为0.50的化学计量混合物自动送入外坩埚,同时与生长晶体的量相对应。这样生长约1.5周后,得到的是无色透明的钽酸锂单晶棒,没有裂纹,直径为40-55 mm,长度为70 mm。
就其内部结构而言,生长的单晶棒是多畴条件的。首先将生长的晶体在1200°C的空气气氛中退火24小时以释放应变,然后通过传统的现场冷却方法将升至居里温度以上。本文获得的钽酸锂(LT)单晶样品对其成分进行了化学分析,并测量了其居里点。居里温度通过差热分析(DTA)测量。从富锂熔体(Li2O/(Ta2O5+Li2O)=0.49)生长的晶体的居里温度为685°C,而商业生产的全等熔体成分Li2O/(Ta2O5+Li2O)=0.4875)晶体的居里温度为601°C。另一方面,由 Li2CO3 和 Ta2O5 粉末的化学计量混合物烧结的粉末显示出 690° C 的居里温度。根据获得的数据,对样品进行了评估。所得到的晶体的组成是不同的,取决于通量的组成。本文从Li-过量熔融成分Li2O/(Ta2O5+Li2O)=0.56-0.60)中获得的所有晶体样品均具有接近化学计量的成分,Li2O/(Ta2O5+Li2O)的摩尔分数在0.492和0.50之间。 此外,还发现,与具有相同熔融成分的传统LT单晶相比,本文获得的晶体样品都具有最小的非化学计量缺陷密度,并且每个晶体样品都具有极好的成分均匀性。
接下来,将每个晶体样品切割成尺寸为10 mm×10 mm,厚度为0.5 mm的试片,然后对两个z表面进行抛光。在每个试件的两个Z表面上形成一个电极,并通过电极向试样施加变化的电压,然后根据通过试件的电流变化计算出试件的极化反转电压。数据如图所示。2.如图2所示,已知本文制备的LT单晶样品的极化在低于10 kV/mm的电压下反转,对于化学计量成分为1.4 kV/mm,而具有相同熔融成分的常规LT单晶样品的极化反转所需的电压不低于20 kV/mm。本发明样品的自发极化与常规样品的自发极化没有区别。这意味着本发明的LT单晶适用于应用传统LT单晶的所有用途。图3显示了本发明的LT单晶的自发极化相对于施加的电压的滞后和传统LT单晶的自发极化,由此可以知道,本发明的LT单晶的滞后比传统的LT单晶的滞后更对称。这意味着本发明的LT单晶在晶体的偏振反转过程中具有优异的可控性。
示例2
本文生产的各种光功能器件包括已在实施例1中制备的钽酸锂(LT)单晶衬底。在这些器件中,衬底的偏振反转是周期性变化的。首先生产的是QPM-SHG设备,能够从波长为840nm或680nm的近红外线的基波中发射蓝光或近紫外光。制备了Z-cut钽酸锂(LT)单晶衬底,其中两个表面都经过抛光,每个衬底的直径为2英寸,厚度为0.5至2毫米。根据光刻技术,在它们的 +Z 表面上,形成的是厚度为 500 nm 的 Al 薄膜的梳状 ike 电极图案。为了形成有效产生蓝色谐波和近紫外谐波的初级QPM结构,电极图案的周期间距分别为3.6 μm和1.7 μm。接下来,将厚度为 0.5 μm 的绝缘膜覆涂在 Thus-pattemed +Z 表面,并在 350°C 下加热 8 小时进行储存处理。
接下来,通过在其两个Z表面上的氯化锂水溶液将衬底夹在电极之间,并向其施加高压脉冲。通过1 kΩ电阻监测流过钽酸锂(LT)晶体的电流。在包含本发明的钽酸锂(LT)单晶的样品中,晶体中的畴通过施加1.4 kV/mm至10 KV/mm的小电压反转,这是应用于传统LT器件的较低电压用于畴反转。在形成畴倒晶格后,将晶体去除,并将晶体的侧面,Y表面进行抛光,并用氢氟酸和硝酸的混合物进行蚀刻。然后,检查了在蚀刻表面中看到的域反转条件。通过优化脉冲宽度和施加电压的电流密度,证实了周期域与反转宽度之比和域分布得到了很好的调节,使得周期域与偏振反转宽度之比可以达到1/1的理想比值,并且在整个样品区域内都具有精度。周期畴反演结构不仅在厚度为0.5 mm的薄样品中准确形成,而且在厚度较大的厚样品中也准确形成,认为这些样品有利于内共振型波长转换器件的制备。
接下来,将晶圆切出并抛光其边缘。对于这些样品,应用的是半导体激光器。在该测试中,发现长度为 10 mm 的样品在高转换效率下具有 SHG 输出的功率。本文产生的器件样品的SH光输出功率不会随着时间的推移而降低,这与包含具有相同熔融成分的传统单晶衬底的QPM-SHG器件的光输出功率不同。
迄今为止,已经说过,传统的QPM-SHG器件的SH光输出功率的下降是由于器件中的单晶材料本身受到光学损伤。虽然目前尚未得到澄清,但以下三个原因可以考虑用于稳定输出的QPM-SHG器件,该器件包含本发明的化学计量成分钽酸锂单晶的衬底。第一个原因是本发明的偏振反转装置具有几μm的小偏振反转宽度,并且偏振与反转宽度之比为1/1的完全比。因此,即使器件在一定程度上受到光学损伤,在一个域中具有 Z 轴向各向异性的损伤区域也可能被相邻域中的其他区域所抵消。第二个原因是,由于本发明的化学计量成分LT单晶与传统的全等熔融成分晶体相比具有低得多的非化学计量缺陷密度,因此前者的光载体受光散射的影响很小,具有较大的迁移率,因此本发明的HE晶体的光电导率很高。就像向其中添加含有MgO的铌酸锂单晶一样,人们认为,因此具有高光电导率的本发明晶体可以消除可能引起光学损伤的局部光载流子,从而对本发明的晶体造成很小的光学损伤。 第三个原因是,由于化学计量成分晶体具有较低的非化学计量缺陷密度,因此它具有很少的光散射因子和很少的宏观晶体缺陷,例如条纹,因此晶体对光的吸收很小。特别是,由于高功率SHG器件中基波和谐波的光吸收增加,热透镜效应将对高功率SHG器件造成光学损伤。然而,据信,本发明的化学计量LT单晶没有这些问题,因为它的晶体完美度高,并且在宽波长区域内的光吸收非常小。
本文已详细描述了电压施加方法,作为一个示例,其中晶体极化在不高于晶体的居里点的温度下反转,然而,这并不是限制性的。除公开的方法外,本发明还适用于1)SiO2带电热处理,2)质子交换热处理或3)电子束扫描辐照的任何其他方法。由于本发明的LT单晶的化学计量组成是调控良好的、完美的晶体,因此在这些方法中可以准确地实现包括该晶体和具有周期性偏振反转晶格的光学器件。
在本文详细描述的示例中,生产的是能够从波长为840nm或680nm的近红外基波产生蓝色或近紫外光的QPM-SHG器件。然而,在本发明中,基本波并不局限于这两者。本发明适用于落在钽酸锂单晶透明且晶体的相位匹配可能的范围内的任何其他波。特别是化学计量的钽酸锂可能是作为QPM-SHG衬底产生近紫外和蓝光激光的最佳材料,因为它具有最短的吸收边缘,为260 nm,分别比同等的钽酸锂和铌酸锂晶体短约15 nm和30 nm。此外,包括本发明的钽酸锂单晶的光功能器件,其中晶体的偏振周期性地反转,从而缩短或延长激光的波长,该激光的波长落在从近紫外射线到近红外线的范围内,并入射到该器件上, 不仅限于二次谐波产生(SHG)器件,还可以用于遥感、气体检测等其他各个领域,例如,作为光学参量谐振器件。
示例3
本文生产的各种铁电畴存储器件包括已在实施例1中制备的钽酸锂(LT)单晶衬底。在这些器件中,衬底中小尺寸的极化反转铁电畴被用作存储器,如图所示。5.如实施例1和实施例2所述,本发明中近化学计量的钽酸锂具有易于制备铁电畴极化反转的优点,这对于传统的同色钽酸锂单晶来说是不容易的。此外,钽酸锂的铁电畴要小得多,小于微米尺寸,而铌酸锂的畴尺寸更大,只有几厘米。这意味着钽酸锂具有制造小尺寸铁电畴极化反转的潜力,可用作铁电存储器。首先,制备了Z-cut钽酸锂(LT)单晶衬底,其两个表面都经过抛光,每个衬底的尺寸为10 mm×20 mm,厚度为0.2至1 mm。如图5所示,使用Maxwell应力扫描力显微镜来可视化畴结构。在其 +Z 表面上,在导电尖端和样品的底部电极之间施加交流电压。额外的静电力导致悬臂的微小振动。除了形貌表面特征外,还监测感应振动的振幅和相位,并代表样品的极化状态。因此,可以研究相变过程中的表面动力学以及铁电畴的形成. 本发明的铁电钽酸锂样品的直接改性是用扫描力显微镜开始的。在导电尖端和对电极之间施加合适的电场会产生永久性极化区域。这些结构域可以在低于居里温度的任何温度下成核。这在很大程度上取决于特定温度下的矫顽场强和所使用的材料。在这一点上,本发明中几乎化学计量的钽酸锂可能是具有较低畴开关矫顽场的最佳衬底。作为示例,将徽标写入钽酸锂衬底中,如图所示。5. 虽然线宽接近小于 700 nm 的值,但时间稳定性也显着提高,为制造纳米尺度的物理器件提供了可能性。
如上文所述,本发明提供一种钽酸锂单晶,其极化反转需要不大于10 kV/mm的低电压,并且即使在这样的低电压下,极化也可以周期性地精确地反转,并提供一种包含晶体的光功能器件。因此,本发明广泛适用于使用激光的光学信息处理、光学工作、光化学反应、光学仪器控制等各个领域的各种光学技术。
虽然已经详细描述了本发明并参照了其具体实施方式,但对于本领域的技术人员来说,可以明显地发现,可以在不脱离其精神和范围的情况下,对其中进行各种改变和修改。
相关产品:PPSLT晶体
详情链接:https://www.sinteclaser.com/optical/quantum-components.html
LBO晶体:引领高功率激光频率转换的核心元件
LBO晶体在DUV光刻机中的作用
非线性光学倍频晶体的比较与应用:CLBO、LBO、BBO与KTP
突破线宽调控瓶颈!LBO晶体如何塑造光参量振荡器的未来?
突破线宽调控瓶颈!LBO晶体如何塑造光参量振荡器的未来?
超越传统非线性晶体:PP-Mg:SLT在宽谱频率转换中的优势
攻克灰迹效应难题的高性能非线性光学材料—HGTR KTP晶体
PP-MgSLT晶体如何实现高效全波段激光转换
重塑光子纠缠:HP APKTP晶体如何开启量子光源新纪元

